乐视的葬礼上,那些可能“陪葬”的机构与大户
时间:17-07-05 来源:阿尔法工场
乐视的葬礼上,那些可能“陪葬”的机构与大户
一波未平,一波又起。
乐视系的债务危机,正从供应链侧,蔓延至资本市场端。
7月3日曝光的,贾跃亭夫妇名下家产与3家乐视系公司共计12.37亿资产,遭遇司法冻结一事件,似乎只是一个开始。
仅一日之隔,便又有新近消息传出:7月4日晚间,据乐视网(SZ:300104)公告,贾跃亭持有的5.19亿股上市公司股份,再遭法院冻结,时限为自冻结之日起三年。
乐视系资金链危情之超乎想象,可见一斑。
乐视系百亿级债务“黑洞”中,被裹挟吞噬者,遍布一、二级市场——既有银行也有一众基金和知名牛散,甚至贾跃亭的“中国好同学”……形形色色,不胜枚举。
1.银行
作为此番资本端债务危机的引爆点,招商银行方面6月末请求法院进行诉讼保全而冻结的乐视系公司共计3家,分别为:乐风移动香港有限公司、乐视移动智能信息技术(北京)有限公司、乐视控股(北京)有限公司。
据悉,招商银行此番针对乐视系兴诉,是因为酷派收购案中,乐视方面涉及的内保外贷已出现逾期。
上述三家公司连同贾跃亭夫妇家产,共同成为招商银行的标靶,颇耐人寻味。
三家公司中,乐风移动与乐视移动系母子公司,前者注册地位于香港;而乐视控股,则是上市公司乐视网的十大股东之一。
其中,乐风移动(乐视移动的独子控股方)股东结构较为简单,系贾跃亭家族人士。
而乐视控股股权结构中,贾跃芳与贾跃亭姐弟俩股东之外,汇鑫资产管理(天津)合伙企业(有限合伙)与晨曦资产管理(天津)合伙企业(有限合伙),系另外两方股东构成。
而该两家法人股东企业,其实际控制人,亦或属贾跃亭家族——贾跃芳不仅系二者的股东,更握有后者8成股权。
如是事实不难判断,上述三家公司系承载贾跃亭家族资产的主要平台。
据媒体报道,当前乐视的债权行不止招行一家,同时还有平安银行的若干亿级规模贷款也为偿还。
除了这两家银行,是否还有其他银行卷入目前还无法确定。
不过,早在今年年初,还曾有媒体渠道消息传出,截至去年6月底,乐视网在中信银行、兴业银行、浙商银行等多家银行的授信金额均已大部分使用。乐视网在12家银行的授信额度为24.2亿元,已使用额度为22.4亿元,使用率达92.6%。
2.二级市场中的基金、牛散与19万散户
作为乐视系当前唯一的体面存在,其上市公司乐视网(SZ:300104),最近一次停牌,迄今已行将届满三个月。
然而可以预见,正在直面大股东爆仓风险的乐视网,短期仍复牌无望。
故而,以下这些二级市场中深埋的众生们,仍须在持续乐视债务阴影中惶恐度日。
据查询所见,4月15日,乐视网停牌,前一交易日报股价收30.68元,总市值为611.98亿元。
截至今年第一季度末(3月31日),乐视网股东户数共计197997,环比增长27799户,增幅16.33%,人均持股6427股。
其十大股东依次分别为贾跃亭、天津嘉睿汇鑫企业管理有限公司、刘弘、贾跃民、曹勇、中央汇金资产管理有限责任公司、章建平、兴业银行-中邮战略新兴产业混合型证券投资基金、农行-中邮信息产业灵活配置混合型证券投资基金以及乐视控股(北京)有限
公司。
十大股东中,除却乐视系人士及公司不表,嘉睿汇鑫持有股份17071.11万股,占总股本比例8.56%;中央汇金持有2799.33万股,占总股本比例1.4%;牛散章建平持有2488.34万股,占总股本比例1.25%;兴业银行-中邮持有1535.10万股,占总股本比例0.77%;农行-中邮持有1490.43万股,占总股本比例0.75%。
需要指出的是,上述10大股东中排名第二的嘉睿汇鑫,系此前为乐视进行战略性输血的融创中国旗下公司。
截至3月31日,在乐视网的全部股东中,共计有46家基金机构类型持股单位。其中,持股1万股以上的基金机构,共计41家;持股10万股以上的,共计33家;持股50万以上的,共计22家;持股100万以上的,共计16家。
值得注意的是,在上述上市公司股东中,部分私募机构及个人,系由去年8月乐视网发布的定增事项介入。
这次定增中,发行股份1.07亿股,发行价45.01元,定增募资近48亿元,财通基金、嘉实基金、中邮创业基金等3家公募基金和牛散章建平包揽了此次48亿元的定增。
其中,财通基金、嘉实基金、中邮创业等3家基金公司分别认购3910.24万股、2132.86万股、2132.86万股,认购金额分别为17.6亿元、9.6亿元和9.6亿元;而章建平个人更是豪掷11.2亿元认购2488.34万股。这些股票锁定期12个月,预计今年8月8日上市流通。
乐视网停牌前的股价为30.68元,上述三家基金公司和牛散章建平目前每股浮亏了14.33元,浮亏幅度都在31.84%,浮亏金额超过15亿元。
乐视一旦复牌,如果没有特别的举措,留给这些机构与大户的是无悬念之连续跌停。
3.乐视系非上市公司股东
当前,乐视体系内非上市公司中,被外界觊觎用以"还债"的优质资产,主要包括乐视影业、乐视体育与乐视致新等。
殊不知,这些非上市公司的一众股东以及私募投资机构,亦在因为乐视系的信用折损而苦不堪言。
乐视影业
成立于2011年12月的的乐视影业,注册资本8.36亿余元,股东人数共计46人(家)。
该公司的前两大股东,分别为乐视控股与嘉睿汇鑫,认缴金额分别在1.82亿元和1.75亿元左右。
乐视影业的股东中,还包括至少6位能够被大众所熟知的公众人物,分别为张艺谋、郭敬明、黄晓明、孙红雷、李小璐和孙俪(工作室形式出资)等影视明星。
5人之中,张艺谋所持股份比例最高,其认缴金额达到1201万元,其他4人则在59万元至500万元之间。
此外,更多的股东则要属全国范围内的各大股权投资机构,其中股份占比较高的包括上海春华景立投资中心(认缴金额3599万元)、深圳市乐视鑫根壹号投资管理企业(认缴金额2999.2万元)、北京银叶金宏投资合伙企业(认缴金额2856.9万元)、北京锦阳资产管理中心(认缴金额1379.6万元)、永泰金丰投资有限公司(1285.6万元)等。
下图系乐视影业的全部股东构成:

乐视体育
乐视体育成立于2014年3月,注册资本4.87亿元,股东人数共计47人(家)。
截至目前,该公司股东认缴与实缴情况尚不明晰。
但与乐视影业一样,47起家股东中大多数系私募股权投资机构,可见曾经一个时期,私募市场对于乐视系企业的追捧颇为热络。
然而,覆巢之下难有完卵,这些当初一道追随贾跃亭的造梦者,而今亦不得不直面被乐视系债务危情波及的尴尬。
不过,相比其他关联公司,乐视体育的当前处境则相对较好。毕竟今年5月,该公司在困境之下,对外宣布完成了B+轮融资,估值达到240亿元。
据媒体报道,海航资本、中泽文化、普思投资、平银能矿、东方汇富、新湃资本、云锋基金,这些知名私募股权机构,在本轮融资之后,直接介入了乐视体育管理层。
下图即为乐视体育的全部股东构成:
乐视致新
乐视致新是乐视超级电视的运营方,这一资产,被认为系乐视旗下最优质的资产之一。
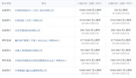
成立于2012年2月的乐视致新,注册资本3.12亿元,股东人数共计7家。
乐视网是为该公司第一大股东,认缴金额1.2595亿元;不过,根据查询软件显示,其实缴金额仅为100万元。
其余6家股东则均完成了注册资本实缴工作,按持股比例先后顺次,它们依次为天津嘉睿汇鑫企业管理有限公司、乐视控股、宁波杭州湾新区乐然投资管理合伙企业、鑫乐资产管理(天津)合伙企业、华夏人寿保险股份有限公司和北京贝眉鸿科技有限公司。
下图为乐视致新股权架构:

4.贾跃亭等股权质押涉及的银行和券商
据不完全数据统计,贾跃亭的基于上市公司的质押融资之路始于2011年,其后至2015年10月的数年间,共进行了33笔交易。
这33笔交易涉及多了家券商、信托、银行。
其中,12家证券公司分别为:中信证券、信达证券、西南证券、山西证券、齐鲁证券、平安证券、国都证券、国信证券、国开证券、海通证券、国泰君安、东方证券;
5家信托公司分别为:中铁信托、上海国际信托、山西信托、平安信托、东莞信托;
1家资产管理公司系上海东方证券资产管理有限公司;
以及1家银行——民生银行。
目前,其间绝大多数已经处于解押状态。只有涉及民生银行、海通证券和山西证券的质押交易,疑似仍处于质押状态。
当前来看,贾跃亭进行股权质押所涉及最大一笔,且仍处于质押状态中的,便是2015年10月26日的那笔5.07亿股的质押项。
就这笔质押交易的质押方,目前尚无公开资料明确。
据悉,这5.07亿股来自贾跃亭持有的乐视网高管锁定股4.67亿股,和无限售流通股4000万股。
至此,贾跃亭几乎已经把他在乐视网的所有股份全部质押。
5.乐视公司债
据媒体报道,乐视网最新一笔公司债——2016年公开发行公司债项目,在今年一季度便已处于“中止”状态。
该债券的全称为“乐视网信息技术(北京)股份有限公司2016年面向合格投资者公开发行公司债券”。
据悉,该债券的发行规模经调整后为不超过20亿元(含20亿元)。所募集的全部资金,将用于补充流动资金。
这一夭折的项目之外,以乐视网为发行人的还有两只公司债——15乐视01和15乐视02债券,主承销商为德邦证券,分别于2015年8月及9月发行,期限三年。
该两只债券总融资规模达到19.3亿元,将于明年8月、9月到期。
值得注意的是,当时两只债券发行利率非常高,分别为8.5%、7.5%。
不过,目前尚不清楚该两只债券的持有机构为谁。
发行公司债之外,乐视系企业还冀望通过债转股方式完成供应链端的清偿工作。
今年2月中旬,乐视致新曾引入乐视手机供应商兼债主作为战略投资者,首次以债转股的方式自救。
根据乐视网当时发布的公告,控股子公司乐视致新拟进行增资扩股,信利电子出资7.2亿认购全部增资,占股2.3438%,估值约307亿元。
不过债转股并非对所有债权人均适用。
今年3月,乐视致新拟再次以增资扩股方式,对另一债权人仁宝信息技术进行清偿。
不过,仁宝方面因评估认为乐视偿还债务的表现不佳,其投资入股乐视子公司的计划已经搁置。
据报道,截至2016年11月,乐视对仁宝及信利的欠款合计达7亿美元。而截至2017年3月底,乐视仍积欠仁宝应收账款约9亿元。
6.员工持股计划涉及的乐视员工
2016年9月20日, 乐视网公告称,截至当日,乐视网第一期员工持股计划,已通过二级市场竞价交易方式,累计买入公司股票1095.35万股,占总股本0.55%,成交金额为人民币5.1亿元,成交均价为人民币46.61元。
该计划所购买的股票锁定期,自2016年9月20日起至2017年9月19日。
以乐视网当前停牌价格30.68元计,该员工持股计划已经下跌34%,浮亏1.74亿元。
7.贾跃亭的“中国好同学”
在乐视系的债权人方队里,还有一批贾跃亭的“中国好同学”不容被遗忘。
2016年11月中旬,乐视系供应链端债务危机全面爆发之际,贾跃亭在长江商学院的十余位董事长同学曾深处援助之手,就乐视汽车项目签订了6亿美元的投资协议。
其中,第一批3亿美元资款于当月到账。
在乐视随后发布的致谢声明中,曾出现了这些企业家的名字:海澜集团董事长周建平、恒兴集团董事长柯希平、宜华集团董事长刘绍喜、敏华控股董事长黄敏利、鱼跃集团董事长吴光明、绿叶集团董事长刘殿波、成信集团董事长卢文椿。
摘自—阿尔法工场
| 上一篇 | 下一篇 |
|---|---|
| 短视亏损,才是投资失败的根本原因? | 2016年近半数信托公司涉诉,涉案金额逾220亿 |